1 Mio. Ersatzteile und Zubehör dauerhaft vorrätig
DAIHATSU CHARADE II (G11, G...

HÄUFIG GESUCHT

Bremsen
Werkzeuge
Motoröl
Filter
Beleuchtung
1

Artikelvergleich

Banner
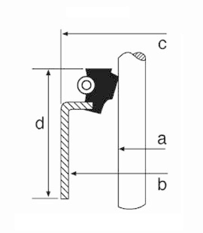
DICHTRING VENTILSCHAFT

3 passende Artikel

12,09 €
Sofort lieferbar
12,19 €
Zur Zeit nicht lieferbar
Material:
FPM (Fluor-Kautschuk)
Höhe 1 [mm]:
11,1
Höhe 2 [mm]:
15,1
Innendurchmesser 1 [mm]:
7
Einbauposition:
abgasseitig, Einlassseite
Hersteller:
CORTECO
9,79 €
Zur Zeit nicht lieferbar
Einschränkungen beachten!
Höhe [mm]:
15
Innendurchmesser [mm]:
11,9
Außendurchmesser [mm]:
13,2
Durchmesser 1 [mm]:
7
Durchmesser 2 [mm]:
11,9
Durchmesser 3 [mm]:
13,2
Ventilschaftdurchmesser [mm]:
7
Hersteller:
ELRING
Seite 1 von 1
1
Gute Gründe für den Kauf bei Lott.
???lott.transporter.Icon???
Kostenloser Versand ab 120€
Paketrückgabe Icon
Bis zu 100 Tage Rückgaberecht
Daumen hoch mit 3 Sterne Icon
Über 500.000 zufriedene Kunden pro Jahr